Deals
Mactrast Deals: Get a USB-C Apple Pencil (Open Box) for Just $49.99
Accessories
Refurbished USB-C Apple Pencil Now Available in Three Additional Countries
Deals
Mactrast Deals: Apple Pencil (USB-C) MUWA3AM/A (New – Open Box)
Accessories
Mention of ‘Apple Pencil Pro’ Found in Code on Apple Website in Japan
Apple
Apple Announces May 7 ‘Let Loose’ Event – Likely to Debut New iPads & Apple Pencil
iPadOS
iPadOS 17.5 Beta Includes References to New Apple Pencil and ‘Squeeze’ Gesture
Accessories
Apple Rumored to Be Readying New Apple Pencil for Launch This Month
Accessories
Apple Could Someday Offer an Apple Pencil-Type Controller for the Vision Pro
Accessories
Apple Releases First Firmware Update for USB-C Apple Pencil
Accessories
Apple Debuts New Apple Pencil – Brings Lower-Priced Option for Pencil Users
Accessories
Mac Otakara: Apple Likely to Announce Apple Pencil 3 With Magnetic Tips Instead of New iPads
iPad
California State University to Provide iPad Air, Apple Pencil, and Keyboard to 35,000 Incoming Students
iPadOS
Several iPadOS 14 Apple Pencil Features Expand to French, German, Italian, Portuguese, and Spanish
Accessories
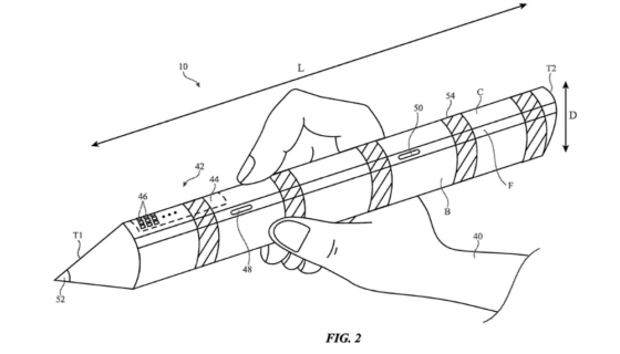
Newly Granted Apple Patents Describe Apple Pencil With iPhone Support, Haptic Feedback
iOS
iOS 14 and iPadOS 14 Safari May Include Built-In Language Translator, Full Apple Pencil Support
News
Analysts Once Again Predict Apple Pencil Support for Upcoming 2019 iPhones
News
User Mods New Apple Pencil to Look and Feel Like a Real Graphite Pencil
Accessories
WaterField Unveils New Sutter Tech Sling for New Apple iPad Pros, MacBook Air
News
Apple Has Registered New iPad Pro Models and a New ‘Bluetooth Device’ in China
News
Kuo: 6.1-inch iPhone to Ship “Slightly Later,” No Apple Pencil Support This Time Around
News
Another Report Indicates Apple Pencil Support for 2018 OLED iPhone Lineup
News
Low-Cost Apple Pencil Alternative, The Logitech Crayon Now Available to Schools
News
New Apple Ads Highlight ‘iPad + Apple Pencil’
iPad
Apple Debuts New 9.7-inch iPad – Includes Apple Pencil Support